一、设备特点
1)仪器使用铜/康铜热电偶,反应速度快,抗干扰能力强。
2)一键测试,安装好试样,只需按一个键,就可以快速测试,仪器带USB接口,可以用U盘对测试结果导出, 机器同时配备微型打印机可以实时打印
3)结构紧凑,节省空间的设计,使用简单。
4)采用触摸屏控制,人机互动好,操作简单.

二、产品介绍:
本机依据标准: Y 1042-2011 牙科学聚合物基修复材料
三、主要参数
1)显示: 7吋彩色触摸屏
2)热电偶: 0~400℃
3)试样槽:聚乙烯管 Φ6x8mm 内径4mm 壁厚1mm
4)电源: 220V 50HZ
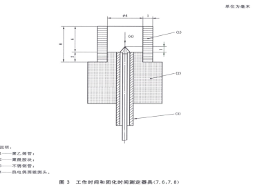
四、设备测试原理展示
该器具由聚酰胺(尼龙)块和安装在上面的聚乙烯管)组成。聚酰胺块(尼龙)的孔中装有一个不锈钢管,不锈钢管中装有一个性能稳定的热电偶


微信公众号

微信客服